お部屋のどこにでも設置できる手すりがあると 便利ですよ。 特に必要な時だけ合って かたづけてもかさばらない物ならなお良いですよね。 というわけでお部屋の中にはいつもある 椅子や机を利用して 手すりを構成します。 その特許の申請文は 前回に載せましたが 図面が載っていませんでしたので 今回図面を載せます。




です。 図面では椅子に棒が付いていますが 椅子自体に取り付けることも出来る 椅子を製作しようと考えています。
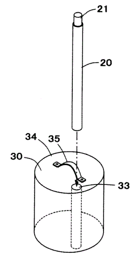
お部屋のどこにでも設置できる手すりがあると 便利ですよ。 特に必要な時だけ合って かたづけてもかさばらない物ならなお良いですよね。 というわけでお部屋の中にはいつもある 椅子や机を利用して 手すりを構成します。 その特許の申請文は 前回に載せましたが 図面が載っていませんでしたので 今回図面を載せます。




です。 図面では椅子に棒が付いていますが 椅子自体に取り付けることも出来る 椅子を製作しようと考えています。